尽管在两个月前,由于营收成绩不佳,可穿戴相机制造商GoPro宣布将推迟无人机Karma的发售计划,但在无人机市场GoPro还有着长远目标,其无人机计划并没有搁浅。据近日最新公开的一份专利申请显示,GoPro准备为自家的无人机打造方盒造型。
目前,在消费类无人机领域,市场格局稳固。据统计,在美国企业向美国联邦航天管理局(FAA)申请准飞的无人机机型中,大疆无人机被审批提及的数量占到总数量的90.17%。业内人士表示,GoPro推迟于年底发售的Karma,很难挑战行业稳固的格局。不过随着政策调整,未来无人机领域的竞争会渐趋激烈。
盈利不足研发受阻
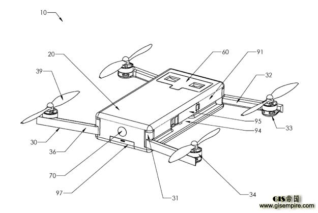
近日,一份GoPro的专利申请图,又让其跳票到今年冬季的无人机产品提前火了一把。据悉,这是一款GoPro准备为自家无人机选用的方盒。专利文件透露,该方盒名为QuadBox,配有可折叠支柱和螺旋桨,以及GoPro专用挂载接口。

GoPro是一家美国运动相机厂商,因其产品多用于冲浪、滑雪、跳伞等极限运动,而被推为“极限运动专用相机”的代表。
GoPro进军消费级无人机市场的意图由来已久。早在去年12月,GoPro就宣布,将在今年上半年发售一款名为Karma的无人机产品,但由于营收状况的不太乐观,又于今年5月初透露,该产品将推迟到年底发售。
在行业内看来,盈利不佳是GoPro研发无人机的最大障碍。据财报显示,GoPro2015年第四季度营收为4.366亿美元,同比下滑31.1%;净亏损3445万美元,同比下滑128.2%。随后,GoPro决定从2016年4月开始,停售旗下多款产品、全球裁员7%,并寄希望于2016年上半年发售的Karma无人机航拍产品。
不幸的是,GoPro 5月份公布的2016年第一季度财报表现依旧惨淡:营收为1.835亿美元,同比下滑49.5%;净亏损为1.075亿美元,而去年同期的净利润为1680万美元。与此同时,Karma无人机航拍产品的发售,也随之被宣布推迟。
GoPro对上述季度财报也表现出了遗憾与无奈:“虽然我们不得不做出推迟发布的艰难决定,但是好在Karma的发布应该能够从购物旺季中受益。”
众所周知,无人机属于新兴高科技市场,由于需要在高空中完成拍照、平衡飞行等作业,对其技术要求也比较严格,需要大量而持续的资金投入研发。据CB Insights统计,2014、2015两年中,就发生了112宗投资交易,涉及金额5.65亿美元。虽然在2016年投资总金额有所放缓,但交易数量并没有明显下降。
鉴于GoPro的财报表现,易观智库入口分析师赵子明对其资金供应链表示担心,“GoPro的市值在近期不断萎缩,耗资较大的无人机研发也很可能把公司拖垮。”
行业稳固突破不易
日前,中投顾问发布了《智能制造八大投资热点市场规模预测》,其中指出,中国民用无人机市场或将在未来 3 年内,迎来第一个行业应用小高潮,仅以硬件产品销售出货规模计算,预计到2018 年,中国民用无人机市场将达到 110.9 亿元。
除此之外,全球无人机市场发展势头也很足。EVTank发布的《2015年度民用无人机市场研究报告》数据显示,2014年全球民用无人机销量为37.8万架,消费级无人机销量占67%。预计到2020年,全球无人机年销量有望达到433万架,市场规模将扩展到259亿美元。
面对发展势头生猛的无人机行业,中投顾问智能制造产业研究员贺在华认为,无人机只是一个小众行业,随着各大品牌商的竞相进入,无人机市场竞争将愈来愈烈。
时下,消费级无人机领域排名靠前的有大疆创新、Parrot、3D Robotics(3DR)、极飞科技Xair、亿航Ehang、零度智控等。不过,目前大疆还是该领域的寡头统治者,且近年来这一格局一直相对稳固。
据FAA已通过的商业无人机准飞许可的申请统计显示,截至2015年第四季度,排名前20的热门机型中有12个来自大疆。在美国企业向FAA申请准飞的无人机机型中,大疆无人机被审批提及的数量占到总数量的90.17%.
与此同时,第三方统计平台sUAS也公布了无人机的注册统计数量,截止到2016年1月19日,在TOP 5的注册数据中,大疆以1373高居第一,占TOP5 注册总量的78.8%;排名第二的3DR无人机公司,占TOP5注册总量的8.7%。
遗憾的是,在激烈的市场角逐中3 DR并未胜出。 2016年3月份,融资累计达1.3亿美元的美国3DR无人机公司,关闭了圣迭戈的库房、研发以及客服部门。3DR创始人安德森对此的解释是,3DR正在酝酿自己的3.0时代。
面对如此稳固而又激烈的行业格局,贺在华对GoPro的发展表示乐观,认为其正好发挥自身小巧轻便的特点,“GoPro准备为自家的无人机选用方盒造型,这是一个带可折叠支柱和螺旋桨的方形盒子,它的顶端有一个GoPro专用的挂载口,从设计规划的角度来讲,这一机身的设计有利于保护无人机的内部,并可以拍摄到很多意想不到的内容。”
不过,赵子明认为,相对于大疆无人机不规则的造型和偏大的体积,GoPro确实可以凭借其便携性直击户外爱好者的痛点,在垂直市场发挥自身优势所在。但对于整个消费级无人机市场,短期内GoPro很难改变既定的行业格局。
大疆公关总监王帆也对《中国经营报》强调了自家产品的优势,“眼下,部分品牌能做出价格相对低廉且操控便捷的产品,但目前来看,只有大疆的产品同时实现了操作简易、高清摄录、高稳定性和高性价比。”
除了行业格局带来的压力,多位受访人士表示,在国内,无人机面临的更多是法律风险。“消费级无人机的定位现在还很模糊,尤其是国内法律法规还尚未健全,很可能陷入窥私或运毒乃至危害公共安全等漩涡,政策风险很大。” 赵子明指出。
转载请注明出处。GIS帝国网站报道中出现的商标及图像版权属于其合法持有人,只供传递信息之用,非商务用途。
相关文章



精彩导读

热门资讯
关注我们